商品期权:市场升波明显锰硅菜油等品种隐历差凸显
发布时间:2024-9-7 08:04阅读:153
【20240906】商品期权:市场升波明显锰硅菜油等品种隐历差凸显
市场回顾
本报告针对商品期权进行综合分析。由于商品期权品种众多,部分品种市场规模较小,因此只对标的期货合约日均成交量超过20,000手的品种进行分析。期权合约仅针对合约日成交量大于等于1000手的品种进行分析。
平值期权价格指数是一个基于认购和认沽平值期权收盘价格加权持仓量构建的指数。此指标的主要用途是为了反映市场中平值期权的价格变动情况,同时通过加权平均考虑了市场中的持仓分布。
近一周(2024.9.2-2024.9.6)商品期货和期权市场整体受到国内外经济政策的刺激和供需因素的影响呈现不同涨跌走势。期货价格&平值期权价格指数方面:除农产品&软商品类期货外,能化类商品,黑色类、有色类期货、整体呈下行趋势。
数据来源:紫金天风期货研究所
能化类商品期权概要:
标的价格&平值期权价格指数:能化类期货价格波动不一,烧碱涨幅为:3.74%。短纤跌幅为:1.82%,聚乙烯跌幅为:2.53%。平值期权价格指数方面,烧碱较上周有较大涨幅,涨幅为:311.11%尿素较上周有较大跌幅,跌幅为:31.47%,PVC较上周有较大跌幅,跌幅为:39.90%;
市场情绪方面:本周日均持仓量PCR指标中,能化类商品期权指标涨跌不一,市场多空情绪分化明显。原油期权本周持仓量PCR数值为0.50,市场短期看空情绪较强;尿素期权本周持仓量PCR数值为1.51,市场短期看多情绪强烈;
隐含波动率回顾:本周能化类商品期权各个品种主力合约隐含波动率,大多处于较低历史区间。
数据来源:紫金天风期货研究所
有色类商品期权概要:
标的价格&平值期权价格指数:有色类期货价格波动不一,沪金跌幅为:0.07%,沪铜跌幅为:1.58%。平值期权价格指数方面,沪金较上周有较大跌幅,跌幅为:7.16%,沪银较上周有较大跌幅,跌幅为:26.56%;
市场情绪方面:本周日均持仓量PCR指标中,有色类商品期权指标均有不同程度上涨。工业硅期权本周持仓量PCR数值为0.47,市场短期看空情绪较强;沪锌期权本周持仓量PCR数值为1.50,市场短期看多情绪较强;
隐含波动率回顾:本周有色类商品期权各个品种主力合约隐含波动率,大多处于较高历史区间。
数据来源:紫金天风期货研究所
黑色类商品期权概要:
标的价格&平值期权价格指数:黑色类期货价格波动不一,锰硅跌幅为:3.74%,硅铁跌幅为:4.84%。平值期权价格指数方面,锰硅较上周有较大跌幅,跌幅为:39.04%,铁矿石较上周有较大跌幅,跌幅为:45.91%;
市场情绪方面:本周日均持仓量PCR指标中,黑色类商品期权指标涨跌不一,市场多空情绪分化明显。硅铁期权本周持仓量PCR数值为0.47,市场短期看空情绪较强;锰硅期权本周持仓量PCR数值为2.04,市场短期看多情绪强烈;
隐含波动率回顾:本周黑色类商品期权各个品种主力合约隐含波动率,大多处于较高历史区间。
数据来源:紫金天风期货研究所
农产品&软商品期权概要:
标的价格&平值期权价格指数:农产品&软商品期货价格波动不一,菜粕较上周有较大涨幅,涨幅为:11.45%,豆粕涨幅为:3.14%。白糖跌幅为:0.42%,橡胶跌幅为:0.57%。平值期权价格指数方面,菜粕较上周有较大涨幅,涨幅为:837.50%,菜油较上周有较大涨幅,涨幅为:123.60%橡胶跌幅为:4.67%,豆油较上周有较大跌幅,跌幅为:13.27%;
市场情绪方面:本周日均持仓量PCR指标中,农产品&软商品期权指标涨跌不一,市场多空情绪分化明显。豆油期权本周持仓量PCR数值为0.21,市场短期看空情绪强烈;豆2期权本周持仓量PCR数值为1.31,市场短期看多情绪较强;
隐含波动率回顾:本周农产品&软商品类商品期权各个品种主力合约隐含波动率,大多处于较低历史区间。
数据来源:紫金天风期货研究所
市场流动性指标及情绪分析
Put-Call Ratio(PCR)是一个衡量看跌期权和看涨期权成交量或持仓量比率的指标,用以揭示市场的多空倾向。通过历史分析,可以发现持仓PCR与标的资产走势之间有时存在短期正向关联关系。
市场流动性指标
商品期权市场总成交量:本周主力商品期权合约成交量约为10,922,497手,相比上周6,482,531手,上涨68.49%。
商品期权市场总持仓量:本周主力商品期权合约持仓量约为9,989,398手,相比上周9,284,134手,上涨7.60%。
数据来源:紫金天风期货研究所
*主力合约筛选条件为:当月主力期货合约所对应的期权合约。
市场情绪分析
本周,商品期权市场情绪表现复杂多变,导致数据来看波动较大。从持仓量PCR的变化来看,可以发现以下几个关键点:
能化类商品期权:本周日均持仓量PCR指标中,能化类商品期权指标涨跌不一,市场多空情绪分化明显。原油期权本周持仓量PCR数值为0.50,PTA期权本周持仓量PCR数值为0.59,PVC期权本周持仓量PCR数值为0.60,市场短期看空情绪较强;短纤期权本周持仓量PCR数值为0.75,甲醇期权本周持仓量PCR数值为0.78,聚乙烯期权本周持仓量PCR数值为0.79,苯乙烯期权本周持仓量PCR数值为0.84,聚丙烯期权本周持仓量PCR数值为0.89,乙二醇期权本周持仓量PCR数值为0.93,对二甲苯期权本周持仓量PCR数值为0.95,LPG期权本周持仓量PCR数值为0.98,烧碱期权本周持仓量PCR数值为1.04,期货价格可能出现短期震荡局面;纯碱期权本周持仓量PCR数值为1.31,市场短期看多情绪较强;尿素期权本周持仓量PCR数值为1.51,市场短期看多情绪强烈。
数据来源:米筐、紫金天风期货研究所
有色类商品期权:本周日均持仓量PCR指标中,有色类商品期权指标均有不同程度上涨。工业硅期权本周持仓量PCR数值为0.47,市场短期看空情绪较强;碳酸锂期权本周持仓量PCR数值为0.92,沪银期权本周持仓量PCR数值为1.01,沪金期权本周持仓量PCR数值为1.17,期货价格可能出现短期震荡局面;沪铜期权本周持仓量PCR数值为1.30,市场短期看多情绪较强;沪铝期权本周持仓量PCR数值为1.36,市场短期看多情绪较强;沪锌期权本周持仓量PCR数值为1.50,市场短期看多情绪较强。
数据来源:米筐、紫金天风期货研究所
黑色类商品期权:本周日均持仓量PCR指标中,黑色类商品期权指标涨跌不一,市场多空情绪分化明显。硅铁期权本周持仓量PCR数值为0.47,市场短期看空情绪较强;螺纹钢期权本周持仓量PCR数值为0.72,铁矿石期权本周持仓量PCR数值为0.83,期货价格可能出现短期震荡局面;锰硅期权本周持仓量PCR数值为2.04,市场短期看多情绪强烈。
数据来源:米筐、紫金天风期货研究所
农产品&软商品期权:本周日均持仓量PCR指标中,农产品&软商品期权指标涨跌不一,市场多空情绪分化明显。菜粕期权本周持仓量PCR数值为0.35,苹果期权本周持仓量PCR数值为0.46,豆粕期权本周持仓量PCR数值为0.57,菜油期权本周持仓量PCR数值为0.62,橡胶期权本周持仓量PCR数值为0.69,丁二烯橡胶期权本周持仓量PCR数值为0.69,市场短期看空情绪较强;豆1期权本周持仓量PCR数值为0.71,白糖期权本周持仓量PCR数值为0.78,花生期权本周持仓量PCR数值为0.87,棉花期权本周持仓量PCR数值为0.88,玉米期权本周持仓量PCR数值为1.15,期货价格可能出现短期震荡局面;豆油期权本周持仓量PCR数值为0.21,市场短期看空情绪强烈;棕榈油期权本周持仓量PCR数值为0.27,市场短期看空情绪强烈;豆2期权本周持仓量PCR数值为1.31,市场短期看多情绪较强。
数据来源:米筐、紫金天风期货研究所
数据来源:紫金天风期货研究所
*风险提示:在PCR的使用中,投资者需注意:一是从成熟市场经验来看,PCR值与标的资产价格长期表现的相关性较弱,期权PCR作为短期的预测指标,效果比较好;二是PCR指标容易受市场流动性的影响,影响因素比如标的品种、上市时间等。
波动率回顾
波动率在期权定价和交易中起着关键作用,尤其是隐含波动率(IV)和历史波动率(HV)。隐含波动率是对未来波动的市场预期,而历史波动率则是过去波动的测量。当IV远高于HV时,可能意味着期权被过度定价。反之,如果IV远低于HV,可能意味着期权相对便宜。根据IV-HV差值回归模型,可以选择在合适的IV或HV值进行套利交易。同时两者差值的增大都反映了对未来市场的不确定性增大。
波动率曲线,具有相同到期日和标的资产而执行价格不同的期权。本文为方便观看,将波动率曲线简化为由虚值认沽期权(平值合约左半边图像)和虚值认购期权组成(平值合约右半边图像),行权价格偏离标的资产现货价格越远,隐含波动率越大。从隐含波动率的相对高低可以看出投资者对波动率的未来预期,从而选择合适的波动率进行入场与出场。
隐含波动率锥型图,用于展示某一资产或衍生品的隐含波动率随着不同到期日的变化情况。可以描绘出某些季节性或周期性的波动模式,如某些特定时间段内的波动率突增或突减现象。此外,通过比较不同时间段的曲线,投资者还可以观察到市场情绪和预期波动率的长期变化趋势。
波动率指标方面:本周多数品种隐含波动率水平都在震荡回落处于历史较低水平。大多数品种的本周的隐含波动率水平都处于历史50分位以下,从隐含波动率均值回归角度分析,可以重点关注处于历史较低分位的品种及处于历史较高分位的品种。
能化类商品期权:本周能化类商品期权各个品种主力合约隐含波动率,大多处于较高历史区间。LPG期权隐含波动率历史分位数为1%,尿素期权隐含波动率历史分位数为11%,聚乙烯期权隐含波动率历史分位数为20%,苯乙烯期权隐含波动率历史分位数为26%,处于较低历史区间,烧碱期权隐含波动率历史分位数为82%,对二甲苯期权隐含波动率历史分位数为92%,乙二醇期权隐含波动率历史分位数为96%,纯碱期权隐含波动率历史分位数为97%,短纤期权隐含波动率历史分位数为98%,处于较高历史区间。根据波动率均值回归角度判断,可以关注隐含波动率后续向历史均值的回归。
数据来源:紫金天风期货研究所
有色类商品期权:本周有色类商品期权各个品种主力合约隐含波动率,大多处于较高历史区间。沪铝期权隐含波动率历史分位数为24%,处于较低历史区间,沪金期权隐含波动率历史分位数为70%,工业硅期权隐含波动率历史分位数为81%,沪银期权隐含波动率历史分位数为90%,处于较高历史区间。根据波动率均值回归角度判断,可以关注隐含波动率后续向历史均值的回归。
数据来源:紫金天风期货研究所
黑色类商品期权:本周黑色类商品期权各个品种主力合约隐含波动率,大多处于较高历史区间。铁矿石期权隐含波动率历史分位数为73%,螺纹钢期权隐含波动率历史分位数为97%,锰硅期权隐含波动率历史分位数为97%,处于较高历史区间。根据波动率均值回归角度判断,可以关注隐含波动率后续向历史均值的回归。
数据来源:紫金天风期货研究所
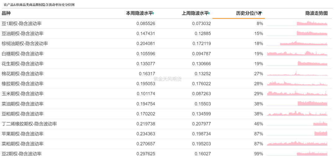
农产品&软商品类商品期权:本周农产品&软商品类商品期权各个品种主力合约隐含波动率,大多处于较低历史区间。豆1期权隐含波动率历史分位数为8%,豆油期权隐含波动率历史分位数为15%,花生期权隐含波动率历史分位数为19%,白糖期权隐含波动率历史分位数为19%,棕榈油期权隐含波动率历史分位数为18%,棉花期权隐含波动率历史分位数为27%,橡胶期权隐含波动率历史分位数为28%,处于较低历史区间,菜粕期权隐含波动率历史分位数为87%,苹果期权隐含波动率历史分位数为87%,豆2期权隐含波动率历史分位数为99%,处于较高历史区间。根据波动率均值回归角度判断,可以关注隐含波动率后续向历史均值的回归。
数据来源:紫金天风期货研究所
数据来源:紫金天风期货研究所
期货从业证号:F3041932
从业资格证号:F03121093
温馨提示:投资有风险,选择需谨慎。
目前商品期权有哪些品种?如何炒商品期权?
请问商品期权品种有哪些?想炒商品期权
商品期权有哪些品种
-
REITs打新:本周共有4个商业REITs基金发售:唯品商业、首农商业、砂之船和地产商业
2026-05-25 16:03
-
网格交易条件单怎么选?小叩深度测评国金、华泰、国泰海通三大主流券商APP
2026-05-25 16:03
-
聪明投资者都会做的止盈止损,应该如何设置?(附自动交易工具)
2026-05-25 16:03



+微信
分享该文章
