辽宁北镇锦银村镇银行因案外人执行异议之诉被告,10月15日在北镇市人民法院审理
发布时间:2024-9-5 18:31阅读:238
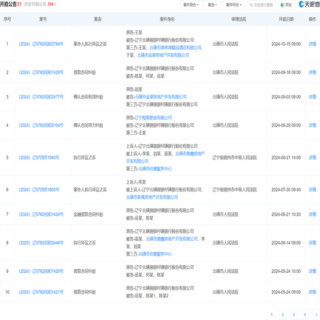
据天眼查法律诉讼信息显示,辽宁北镇锦银村镇银行股份有限公司(以下简称“辽宁北镇锦银村镇银行”)因案外人执行异议之诉被告,于2024年10月15日在北镇市人民法院开庭审理【案号:(2024)辽0782民初2784号】。
公开资料显示,辽宁北镇锦银村镇银行成立于2011年,位于锦州市,是一家以从事货币金融服务为主的企业。企业注册资本10325万人民币,实缴资本10325万人民币,法定代表人为张朝阳。
风险方面共发现企业有涉案总金额37.1962万元;开庭公告31条,立案信息11条。
温馨提示:投资有风险,选择需谨慎。
-
震荡行情难赚钱?国泰海通网格交易工具,手把手教你赚稳波动差价
2026-04-20 14:43
-
华泰证券新老客户十年Level2行情免费领啦!速览领取指南
2026-04-20 14:43
-
国泰海通合并1周年!周年庆福利满满,怎么高效领取?(含新客理财券)
2026-04-20 14:43



+微信
分享该文章
