永宁汇发村镇银行因案外人执行异议之诉被告,7月9日在宁县人民法院审理
发布时间:2024-7-9 16:32阅读:178
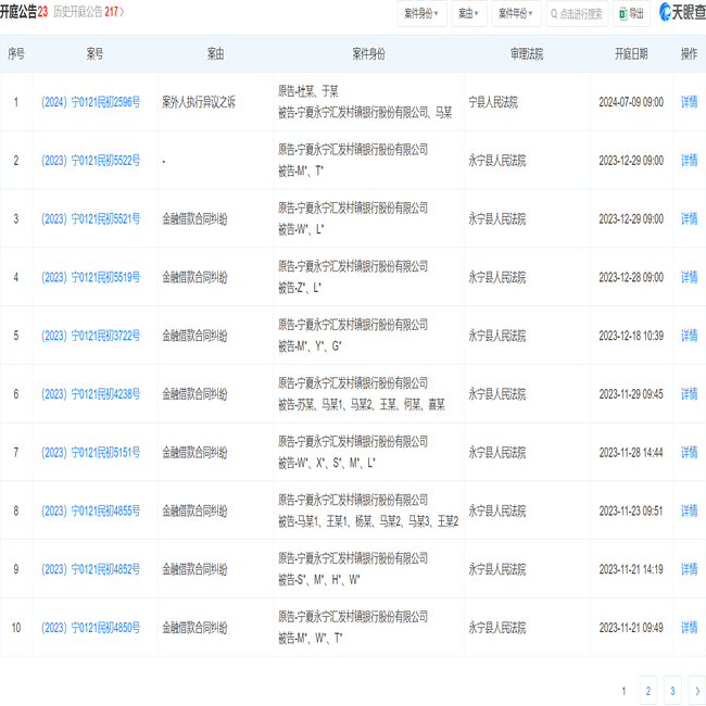
据天眼查法律诉讼信息显示,宁夏永宁汇发村镇银行股份有限公司(以下简称“永宁汇发村镇银行”)因案外人执行异议之诉被告,于2024年7月9日在宁县人民法院开庭审理【案号:(2024)宁0121民初2596号】。
公开资料显示,永宁汇发村镇银行成立于2017年,位于银川市,是一家以从事货币金融服务为主的企业。企业注册资本3000万人民币,实缴资本,法定代表人为李烨。
风险方面共发现企业有裁判文书26条;开庭公告23条。
温馨提示:投资有风险,选择需谨慎。
-
震荡行情难赚钱?国泰海通网格交易工具,手把手教你赚稳波动差价
2026-04-20 14:43
-
华泰证券新老客户十年Level2行情免费领啦!速览领取指南
2026-04-20 14:43
-
国泰海通合并1周年!周年庆福利满满,怎么高效领取?(含新客理财券)
2026-04-20 14:43



+微信
分享该文章
