外贸信托因案外人执行异议之诉被告,8月19日在沭阳县人民法院审理
发布时间:2024-8-11 18:13阅读:95
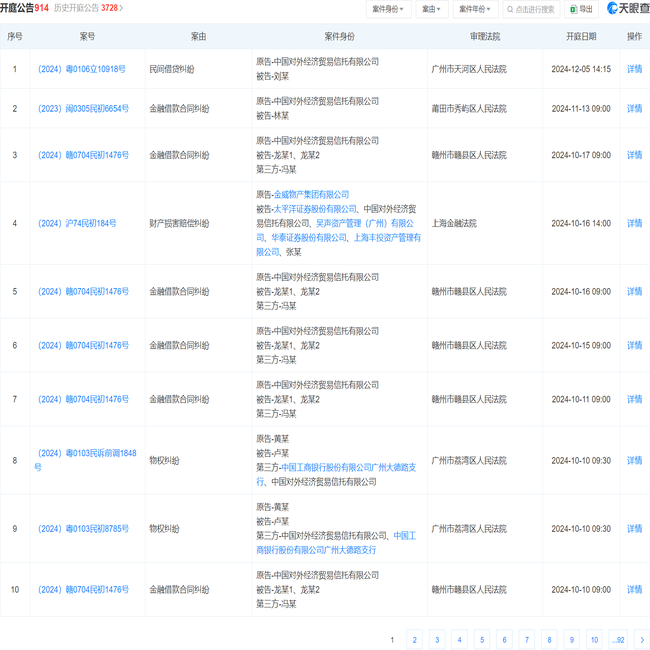
据天眼查法律诉讼信息显示,中国对外经济贸易信托有限公司(以下简称“外贸信托”)因案外人执行异议之诉被告,于2024年8月19日在沭阳县人民法院开庭审理【案号:(2024)苏1322民初7356号】。
另据天眼查统计,2024年1月以来,外贸信托被告多次,案件遍及上海、广东、江苏、四川等地。从案件案由来看,主要以案外人执行异议之诉、财产损害赔偿纠纷、申请撤销仲裁裁决等为主。
公开资料显示,外贸信托成立于1987年,位于北京市,是一家以从事其他金融业为主的企业。企业注册资本800000万人民币,实缴资本800000万人民币,法定代表人为李强。
风险方面共发现企业有裁判文书19条,涉案总金额39.262264万元;开庭公告915条,立案信息399条。
温馨提示:投资有风险,选择需谨慎。
- 
                                    中信证券现在可以买黄金吗?有人知道吗?
                                     2025-10-27 09:22 2025-10-27 09:22
- 
                                    业绩反弹!2025年10月最新【个人养老金基金产品】全汇总~业绩反弹!2025年10月最新【个人养老金基金产品】全汇总~
                                     2025-10-27 09:22 2025-10-27 09:22
- 
                                    都说【宽基指数】好,它究竟是啥?具体有哪些?
                                     2025-10-27 09:22 2025-10-27 09:22

 
                        
 
                 
                                                             
                                                                                                                                     当前我在线
当前我在线
                                    
 分享该文章
分享该文章
                     3216
3216 
                                 
                            
 
                     
                     
                     
                     
                     
                     
                     
   
                        