宏利基金因违反外汇登记管理规定被外汇局警告并罚款
发布时间:2025-7-25 16:14阅读:183
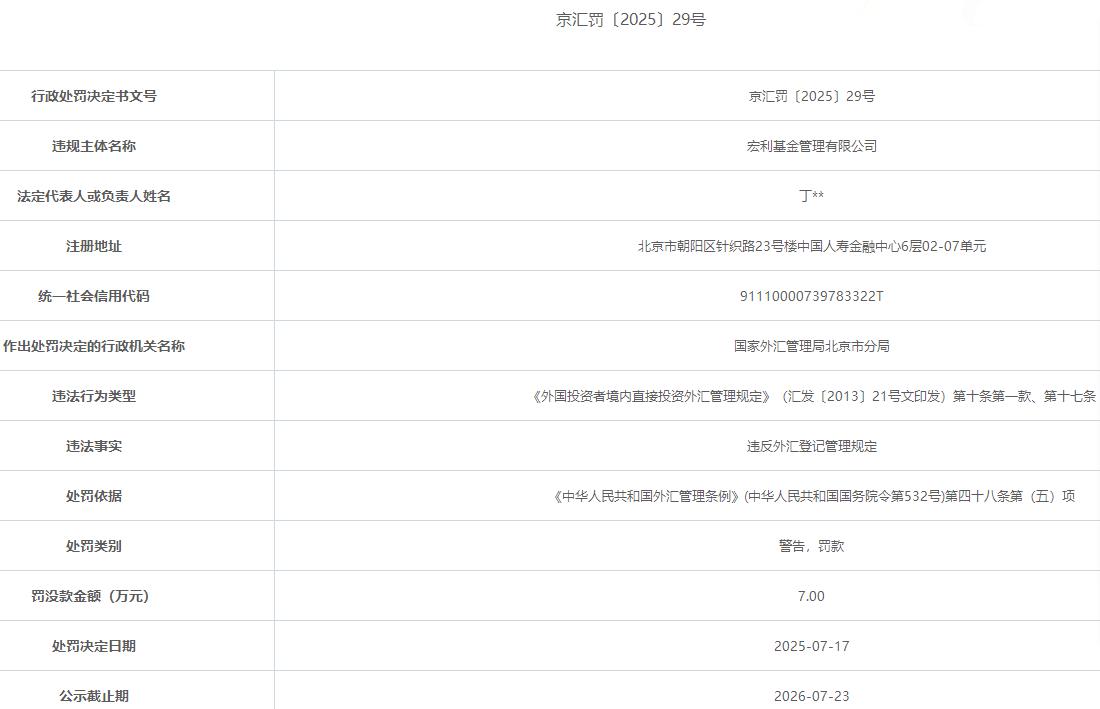
中国经济网北京7月25日讯23日,国家外汇管理局北京市分局发布京汇罚〔2025〕29号行政处罚。处罚信息显示,宏利基金管理有限公司因存在违反外汇登记管理规定的违法事实。具体违法行为类型涉及《外国投资者境内直接投资外汇管理规定》(汇发〔2013〕21号文印发)第十条第一款、第十七条。
依据《中华人民共和国外汇管理条例》(中华人民共和国国务院令第532号)第四十八条第(五)项,对宏利基金管理有限公司给予警告,并罚款7.00万元。
相关法规:
《中华人民共和国外汇管理条例》第四十八条第(五)项:(五)违反外汇登记管理规定的。
《外国投资者境内直接投资外汇管理规定》第十条第一款:因减资、清算、先行回收投资、利润分配等需向境外汇出资金的,外商投资企业在办理相应登记后,可在银行办理购汇及对外支付。
《外国投资者境内直接投资外汇管理规定》第十七条:外国投资者通过新设、并购等方式在境内设立金融机构的,参照本规定办理登记。
以下为原文:
温馨提示:投资有风险,选择需谨慎。
-
国常会力挺“六张网”,利好哪些板块?普通人如何稳健布局?
2026-05-18 15:52
-
REITs打新: 风电项目 ⌈中核新能⌋ 今日发售!点击领取认购操作指南~
2026-05-18 15:52
-
华泰AI涨乐APP超实用提示词分享,直接复制使用~
2026-05-18 15:52



+微信
分享该文章
