股票ETF之指数篇:聚焦核心资产-沪深300指数
发布时间:2024-10-23 16:56阅读:397
通过小课堂前面几期的科普可知,ETF是一种跟踪特定指数表现的投资工具,ETF旨在复制其跟踪指数的表现,因此其价格变动通常与指数走势保持高度一致。换句话说,投资者买卖一只ETF,就等同于买卖了它所跟踪的指数,在投资ETF前需要挑选合适的跟踪指数。
那么,市场上那些重要的股票指数你了解吗?
本期起,我们的《ETF课堂》内容将进入到指数篇。
重点给大家介绍一些常见的股票指数品种。
接下来我们来了解下许多投资者都熟悉的几个跨市场宽基指数。
本期首先来了解下聚焦中国核心资产的沪深300指数。
股票ETF之指数篇(1):聚焦核心资产-沪深300指数
如果有人问,什么指数可以比较好地去反映A股市场的整体表现?
这个时候我们就不得不提沪深300指数了。
它是由沪深市场中规模大、流动性好的最具代表性的300只证券组成。
数据上看呢,(截至2024年10月17日)这300只股票总市值超55万亿(元),覆盖了沪深两市约60%的市值。
可以说沪深300指数就如同股市的温度计,是衡量整个A股市场大盘股表现的重要基准。
另外呢,沪深300指数也是A股的首支跨越沪深交易所的指数,它由中证指数公司于2005年发布,至今已有18年的时间了。
这个时候,是不是有小伙伴会问,这样一个历史悠久的指数,会不会存在一些行业比较陈旧的问题呢?
这就要说到我们沪深300成分股的迭代机制了。
沪深300指数的成分股,并不是固定不变的,并且每半年就会调整一次指数样本。
这一点可以从沪深300指数,近10年的行业分布变迁上体现出来:相比于10年前,沪深300指数中,传统金融行业的占比在逐渐降低,而以电子、电力设备、医药生物等为代表的新兴成长行业,比重则越来越高。
指数行业变迁的背后,反应的其实是我国经济转型升级的大趋势。
因此呢,沪深300指数是始终可以紧贴市场变化的,投资者不用担心行业陈旧的问题。
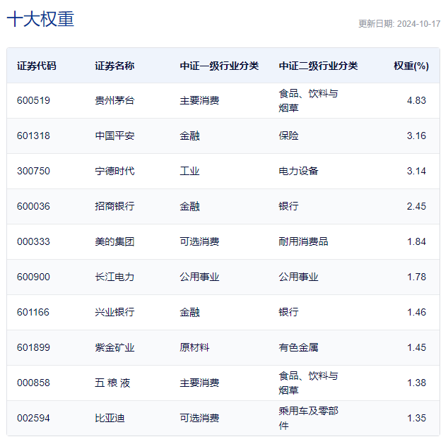
那么,说完沪深300指数的行业分布,我们再来查看下指数的前10大成分股。
贵州茅台、宁德时代、中国平安、招商银行、美的集团......
这些是不是大家都耳熟能详的蓝筹白马股呢?
其实这些前10大成分股,市值均在4000亿元(截至2024年10月17日)以上,可以说是各行各业的绝对龙头了。
(数据来源:中证指数官网,截至2024年10月17日)
接下来,我们再来看看成分股权重。
沪深300指数成分股最大权重为5.06%,前十大成分股权重合计为23.06%。
因此呢,沪深300权重相对分散。
最后,我们来看下,跟踪沪深300指数的,都有哪些ETF呢?
数据显示,目前跟踪沪深300的ETF合计30余只,其中有4只规模超千亿(元)。
另外,值得一提的是,沪深300指数成分股中,市值超千亿的个股约有130只,而市值最低的个股,它的市值也超过160亿元,可谓是A股核心资产聚集地。
当然了,市场上除了有跟踪大盘股的沪深300指数,也有跟踪中小盘的宽基指数。
接下来的视频我们将继续介绍聚焦中、小盘的中证500、中证1000,他们也是两只典型的跨市场宽基指数。
这两只指数又都有什么特点呢,我们下期视频再接着聊!
温馨提示:投资有风险,选择需谨慎。
-
REITs打新:本周共有4个商业REITs基金发售:唯品商业、首农商业、砂之船和地产商业
2026-05-25 16:03
-
网格交易条件单怎么选?小叩深度测评国金、华泰、国泰海通三大主流券商APP
2026-05-25 16:03
-
聪明投资者都会做的止盈止损,应该如何设置?(附自动交易工具)
2026-05-25 16:03



+微信
分享该文章
