起拍600万!中国第一台黄牌奔驰遭拍卖:车主曾登胡润榜,因百亿财务造假震惊全国
发布时间:2021-7-15 13:57阅读:211
近日,北京昌平区法院拍卖一辆起拍价为600万元的豪车,引发众多网友关注。
据河南商报,这辆豪车是中国第一辆黄牌奔驰普尔曼。据业内人士介绍,一辆防弹加长版奔驰普尔曼目前在国内售价高达上千万。
而这辆车正是昔日震惊全国的千亿“新材料白马股”百亿财务造假案中康得新复合材料集团股份有限公司(简称“康得新”或康得退(退市))创始人钟玉的座驾,他曾登上胡润百富榜,如今却因涉嫌欺诈发行股票、债券罪等,已被检察机关提起公诉。
拍卖车国内售价高达上千万
此场拍卖不包括号牌指标
据网络拍卖平台资料显示,这辆车挂着黄色的京ADP329车牌,标着“奔驰大型轿车”,目前停放在昌平区法院停车场。
图片来源:某拍卖平台
据网络拍卖平台显示,需缴纳60万元的保证金(可赊钱报名,最高可赊保证金的70%,上限50万),才可加入这辆车的争夺,竞拍的加价幅度为5000元一次。整个拍卖目前有0人报名,设置提醒有267人,围观超1.6万次。
据悉,此次拍卖以车辆现状为准,参与拍卖视为认可车辆所有瑕疵。拍卖成交后,买受人自行提取车辆并承担相关费用,本车拍卖不包括号牌指标。竞拍后的不能进行过户风险由买受人承担,与法院无关。
据河南商报,业内人士介绍,一辆防弹加长版奔驰普尔曼目前在国内售价高达上千万。
根据相关判决书,这台车的车主名叫钟玉,是康得新集团前董事长。这辆车因民间借贷纠纷被拍卖。
2018年12月,钟玉因公司资金紧张,以这辆车为抵押在小贷公司贷款380万,实际到账,到期后,他还了30万元的本金和利息,还差350万元没还。
2019年1月,钟玉想要赎车,但手上没钱,于是他向卢明等5人借了350万,由中间人办理赎回,并由中间人代表这5人签订借款合同及车辆抵押合同,约定2019年7月30日还款。
但借款到期后,卢明等5人多次催要,钟玉拒不返还借款,之后5人将钟玉告上法庭,要求偿还本金及利息,并拍卖这辆车,以该车辆拍卖、变卖所得价款优先受偿。
根据借款人和钟玉当初签订的合同,这辆车的账面价值为1107万多元,评估值为800万元,双方商定抵押车辆的抵押价值总额为350万元。
昌平区法院经审理认为,钟玉与卢明等5人签订的债权确认合同是有效的,他们之间形成了合法有效的民间借贷关系。
去年12月,昌平区法院判决钟玉在判决生效之日起7天内偿还卢明等5人350万元本金和利息。另外,卢明等5人有权就钟玉名下的京ADP329车辆折价或者拍卖、变卖所得价款优先受偿。
钟玉曾登上胡润财富榜
今涉嫌欺诈发行股票、债券罪被公诉
钟玉生于1950年,为北京航空航天大学系统管理工程硕士研究生、高级工程师。据媒体报道,钟玉行事低调强悍,曾狂傲地表示:“在我一生中还没有想做而做不成的事。”
据公开资料显示,38岁那年,钟玉辞去“铁饭碗”,下海创业,第二年,与几名原国企技术骨干一起创立了康得新集团。
2002年,康得新搭建了中国第一条预涂膜生产线。经过8年发展,该公司成为全球最大的预涂膜生产企业,并于2010年登陆A股上市,当年实现营收5.24亿元、净利润0.70亿元。
2010年7月,康得新上市之后,又突破了光学膜的技术难关,开始为摩托罗拉、三星、京东方等大客户供货。
2017年的康得新可谓“春风得意”,不仅股价创下26.67元/股(前复权)的历史新高,而且市值高达近千亿,离3000亿市值的目标只差两块跳板。
彼时,康得集团展望2018年,用的形容词是“新梦想、新未来、新征程”。时任康得新集团CEO徐曙在誓师大会上,还称“用五年时间实现矩阵式业务运营模式,将康得新建成全球先进高分子材料的平台型领导企业”。
图片来源:康得之光微信公众号截图
在2018年胡润北京富豪排行榜上,钟玉以195亿元的身家排名第36位。
然而风光的日子在2019年戛然而止。
据公开报道,2019年5月,江苏张家港市公安局发布消息称,钟玉因涉嫌犯罪被警方采取刑事强制措施。同年12月,经苏州市人民检察院,他被执行逮捕。
今年5月底,苏州市人民检察院发布通告称,以康得新复合材料集团股份有限公司涉嫌欺诈发行股票、债券罪,骗购外汇罪,钟玉等人涉嫌违规披露、不披露重要信息罪,欺诈发行股票、债券罪,骗购外汇罪等,向苏州中院提起公诉。
目前,钟玉因涉嫌犯罪正羁押于苏州市第一看守所。
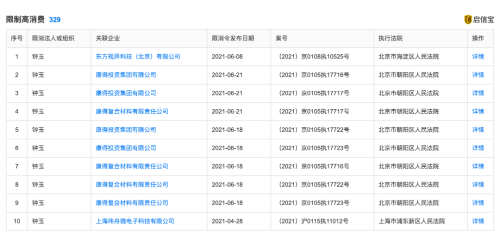
启信宝app显示,钟玉控制企业达56家,间接持股企业有107家,当前,钟玉已被列为失信被执行人,多次限制高消费。
虚增利润100亿!
巨额财务造假,康得新被强制退市
在2017年8月《福布斯》发布的年度“全球最具创新力企业”榜中,康得新成为中国首家,也是全球唯一入选的材料企业。同一年,康得新股价创下历史新高,市值近千亿。一度被誉为“中国的3M”和“千亿白马股”。
2019年1月15日晚,康得新发公告,称其2018年四季度以来,公司资金周转出现暂时性困难。导致公司2018年度第一期超短期融资券(18康得新SCP001)出现实质性违约,该债券发行总额10亿元,本息合计10.4亿元。
1周后的1月21日,康得新又公告,称该公司的另一笔债券——“18康得新SCP002”未按期偿付本息,构成实质性违约。该债券发行总额5亿元,本息合计5.2亿元
但令人匪夷所思的是,康得新2018三季度末时的流动资产负债表上几乎可以称之为“穷得只剩下钱了”。彼时公司资产负债表显示,截至2018年9月底,公司资产负债率45.46%,截至2018年9月底账上现金余额150亿,理财资金27.9亿。据2018年半年报,公司银行存款160亿,其中受限制的资金8.8亿。
有上百亿的存款,却还不起15亿的债?康得新这一情况引发极大市场舆论。
2019年1月22日,证监会启动立案调查。当年2月,康得新董事长钟玉辞职,5月13日,他因涉嫌犯罪被警方采取刑事强制措施。2019年12月16日,钟玉因涉嫌犯罪被执行逮捕。
除此之外,康得新看起来很富有的银行账户也是假象,根据证监会的调查,康得新大股东康得集团与相关银行签现金管理协议涉及的康得新银行账户各年末实际余额为0,康得新2015年至2018年年报披露的银行存款余额虚假。2016年至2018年未及时披露及未在年度报告中披露康得新子公司为控股股东提供关联担保。未在年度报告中如实披露2015年和2016年非公开发行募集资金的使用情况。
2019年7月8日,康得新股票开始停牌。2020年7月10日,因2018年、2019年连续两个会计年度财务会计报告被出具无法表示意见的审计报告,康得新暂停上市。
2020年9月22日,证监会对康得新(彼时称*ST康得)财务造假等违法行为作出正式行政处罚。
公告披露,2015年1月至2018年12月,康得新通过虚构销售业务,虚构采购、生产、研发、产品运输费用等方式,虚增营业收入、营业成本、研发费用和销售费用,导致 2015年至2018年年度报告虚增利润总额分别为22.43亿元、29.43亿元、39.08亿元、24.36亿元,累计虚增利润115.3亿元,系当时A股史上利润造假最多的公司。
除此之外,中国证监会决定对康得新、公司实际控制人钟玉等人进行罚款等行政处罚,同时对钟玉、王瑜(时任康得新财务总监、董事)采取终身证券市场禁入措施,对徐曙(时任康得新总经理、董事)、张丽雄(时任康得新财务中心副总经理)分别采取10年证券市场禁入措施。
根据行政处罚决定,康得新对2015年至2018年的财务报表进行追溯调整。
2021年2月28日,康得新披露追溯调整后的财务报表,2015年至2018年更正后的净利润分别为-14.81亿元、-17.55亿元、-24.60亿元、-23.57亿元,连续四年净利润为负,触及重大违法强制退市情形。
4月9日,康得新向深交所提交了复核申请材料。4月23日,深交所召开上诉复核委员会复核会议,对复核申请事项进行审议。5月27日,深交所复核结果显示,仍维持对康得新做出的终止上市决定。
温馨提示:投资有风险,选择需谨慎。
-
最新整理:2026全年A股休市日历出炉!
2026-01-12 13:33
-
2026年"国补"继续,核心变化有哪些?哪些板块&指数机会更大?
2026-01-12 13:33
-
2026A股16阳后,春季行情如何合理布局?
2026-01-12 13:33


问一问
+微信
分享该文章
