全国首个低于煤炭标杆电价海上风电竞配项目获核准
发布时间:2024-6-27 12:38阅读:324
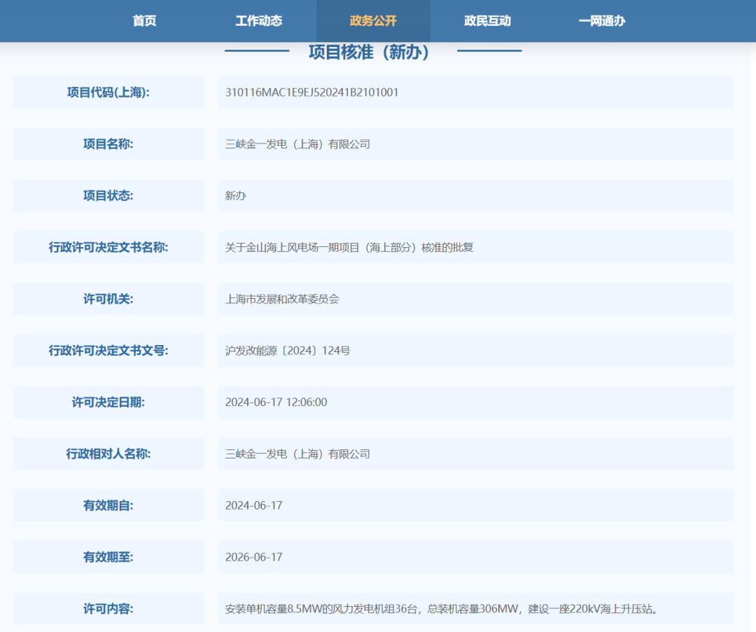
近日,上海市发展和改革委员会发布《关于金山海上风电场一期项目(海上部分)核准的批复》。
金山海上风电场一期项目场址位于上海市金山区杭州湾北部海域,场址中心离岸距离约19.5km,水深10.2至12.0米。本工程总装机规模306MW,拟安装36台单机容量为8.5MW的风力发电机组,建设一座220KV海上升压站和一座陆上集控中心,同时配套海上风电、海洋牧场、海洋观测站网建设、交通安全监管平台等,总投资31.27亿元。
该项目于2022年3月由中国三峡集团联合上海绿色环保能源有限公司、中海油融风能源有限公司成功竞配,并组建三峡金一发电(上海)有限公司进行开发。
金山海上风电场一期项目(陆上部分)已于2023年12月30日启动,项目计划于2024年12月31日前全容量并网发电,建成后预计平均年上网电量107552.4万千瓦时,年均节约标煤32.78万吨,减少二氧化碳排放量约89.47万吨。
据悉,该项目是三峡集团在上海开发的第一个海上风电项目,也是全国首个低于煤炭标杆电价的竞争性配置项目,将进一步巩固和提升上海海上风电产业的引领与示范效应。
温馨提示:投资有风险,选择需谨慎。
海上风电的前景如何?市场空间有多大?
-
养虾理财用的金融Skill是什么?国泰海通灵犀Skills实测,新手也能装
2026-05-09 13:41
-
豆包开启付费!AI行业迎来拐点,普通投资者该怎么布局?
2026-05-09 13:41
-
2026国金证券新人开户能够享受哪些福利?(含6888元品质礼包)
2026-05-09 13:41



+微信
分享该文章
